标准光源类型与色温体系
标准光源体系通过精确控制光谱功率分布,为各行业提供可靠的色彩评价基础,其色温特性直接影响颜色评估的准确性和一致性。

标准光源体系分类与技术特征
自然光模拟光源系列
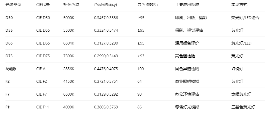
D系列光源模拟不同时段和天气条件下的自然日光。D50光源相关色温5000K,色品坐标x=0.3457,y=0.3586,主要用于印刷、出版行业的标准观察条件。D55光源色温5500K,适用于摄影和视觉摄影原稿的评价。D65光源色温6504K,代表平均日光,是通用颜色评价的基础光源。D75光源色温7500K,模拟北天空日光,适用于高色温要求的检验工作。
这些光源的光谱功率分布通过大量实测数据确定,具有连续光谱特性。D系列光源的实现通常采用荧光灯管结合特殊荧光粉,或LED组合光谱技术,光谱匹配度要求达到90%以上。光源的紫外含量需严格控制,D50光源的UV输出应与自然日光相匹配,用于评估含荧光增白剂材料的颜色。
人工光源标准系列
A光源代表充气钨丝灯,相关色温2856K,色品坐标x=0.4476,y=0.4075。其光谱功率分布符合普朗克辐射定律,主要用于同色异谱现象的检测。A光源的显色指数Ra=100,是评价其他光源显色性的基准。
F系列光源代表典型的荧光灯照明体。F2为冷白光荧光灯(4150K),F7为宽波段日光荧光灯(6500K),F11为窄带三基色荧光灯(4000K)。这些光源的光谱呈线状特征,在特定波长有较强的辐射峰值,用于评估材料在商业照明环境下的颜色表现。
标准光源技术参数与应用对照表

光源实现技术与质量控制
光源实现方法
传统标准光源采用荧光灯管实现,通过调配荧光粉比例模拟目标光谱。D50光源使用多波段荧光粉,在450nm、540nm、610nm处设置发射峰,模拟日光连续光谱。LED光源通过芯片组合和荧光粉技术,可实现更精确的光谱匹配。RGB三色LED混合可调出不同色温,全光谱LED通过蓝光芯片激发特殊荧光粉,产生更连续的光谱。
光源老化监控至关重要。荧光灯管寿命约2000小时,使用1000小时后色温漂移应小于±100K。LED光源寿命可达10000小时,但需注意色温随时间的稳定性。智能光源系统内置传感器,实时监测色温和照度,自动补偿老化带来的变化。
质量控制标准
标准光源需定期校准,确保色温、显色指数和照度符合要求。校准周期为6-12个月,使用标准色温计和光谱辐射度计测量。色温容差要求:D系列光源±200K以内,A光源±100K以内。显色指数偏差应小于3,照度均匀性不低于0.8。
紫外含量控制特别重要。D50光源的紫外辐射应与真实日光匹配,UV比例控制在1.5%-2.5%。使用紫外截止滤光片可调节UV输出,满足不同材料的评价需求。
各行业应用标准与选择指南
印刷与出版行业
印刷行业严格执行ISO 3664:2009标准,要求使用D50光源进行颜色评价。照度标准为2000±500lux,均匀度≥0.8,环境光≤64lux。观察条件为0/45或45/0几何,背景为中性灰(Munsell N7)。
数字打样采用D50标准,确保软打样与硬打样的一致性。出版社需定期用标准色卡验证光源状态,当ΔUV超过0.01时需要调整或更换光源。
纺织与服装行业
纺织品对色采用D65光源,模拟日光下的颜色表现。同时需要评估同色异谱,在D65和A光源下比较颜色差异。色牢度评级使用D75光源,照度600lux,确保评级准确性。
商场照明模拟使用F系列光源,评估服装在零售环境下的颜色效果。重点考察色变程度,要求ΔE*ab小于3.0。
特殊应用与新兴技术
汽车与涂料行业
汽车颜色评价需要多角度观察。使用D65光源评估正面色,同时检查侧视角的颜色变化。金属漆和珠光漆需在多个角度下评价,确保颜色的一致性。
涂料行业采用多光源对色制度。在D65、A、F11三种光源下评估颜色,确保在不同照明环境下颜色表现稳定。同色异谱指数要求小于1.5。
数字显示与新媒体
显示器校准使用D65标准,色温6500K,gamma值2.2。视频制作采用D63光源,色温6300K,适应显示器的特性。影视照明使用D55光源,与胶片特性匹配。
HDR内容制作需要更宽色域,使用D65基准,但色域范围扩展至Rec.2020。这些新标准推动光源技术不断进步。
常见问题与解决方案
光源老化与性能衰减
定期检测是保证准确性的关键。每月使用标准色温计测量色温,每季度用光谱仪检查光谱功率分布。建立光源使用档案,记录使用时间和性能变化。
设置预警机制,当色温漂移超过标准值的50%时提前更换。采用冗余设计,重要工位配备备用光源,确保生产不受影响。
环境光控制
标准观察室需要严格的光学隔离。墙面使用中性灰涂料(反射率≤60%),避免反射光干扰。观察台设置在房间中央,远离门窗。
建立准入制度,非相关人员不得进入观察区域。使用自动门和帘幕系统,减少人员进出带来的光线影响。
同类文章排行
- 如何使用对色灯箱管理面料颜色
- 对色灯箱的正确使用方法
- 标准光源箱中灯管的使用寿命
- 关于对色灯箱的光源问题的介绍
- Tilo标准光源箱畅销全国的原因
- 使用标准光源箱检测服装色差
- 天友利对色灯箱畅销多年的奥秘
- TILO天友利商标成功维权公告
- 对色灯箱如何正确操作和对色
- 观察颜色为什么需要标准光源?
最新资讯文章
- 印刷行业对色灯箱推荐|专业比色箱,筑牢印刷色彩品质防线
- D65光源显色指数≥95:三恩时如何守护您的“颜色真相”
- 木纹漆对色,还在“凭感觉”?试试天友利标准光源箱
- 什么是环形光源?环形光源的特点与应用全解析
- 色漆和清漆涂层目视评定的光照条件和方法——GB/T 37356-2019,
- 天友利T6020-X光源房照明光源:高显无频闪,适配多行业照明刚需
- 家具表面耐磨性测定的光源类型、照度、色温、显色指数标准
- 一文读懂A光源:标准光源箱中不可或缺的暖光基准
- P120 LED标准光源箱,高效节能+精准控色双在线
- 什么是色温效应?一文读懂色温效应的定义、原理与实际应用
- 背光源选择与使用的注意事项
- 一文读懂背光源:它藏在你身边,作用比想象中更重要
- 翡翠是什么颜色的?翡翠颜色分级工具——标准光源箱
- GB 43471-2023普通照明用光源的安全要求
- 和田玉(白玉)颜色分级的重要工具——天友利标准光源箱
- 3nh Tru D75棉检对色灯管可见光波段全光谱曲线和显色指数
- 吊式光源箱:为印刷车间装上“色彩校准之眼”,终结颜色争议
- 天友利T90-X可调色温/照度灯箱的安装使用前注意事项和使用方法
- T360300-0806面光源介绍和维修保养方法
- 天友利YSL D65/1200 LED 灯管简介





